近日,新发现的一项三星专利表明,该公司可能正在开发一款具有更动态和交互式设计的智能手表。据CNMO了解,该专利已在世界知识产权组织(WIPO)网站上发布,出版号为WO 2025/127701,其中包含的草图揭示了一种新型可穿戴体验:交互不再局限于圆形显示屏,而是扩展到表带区域。

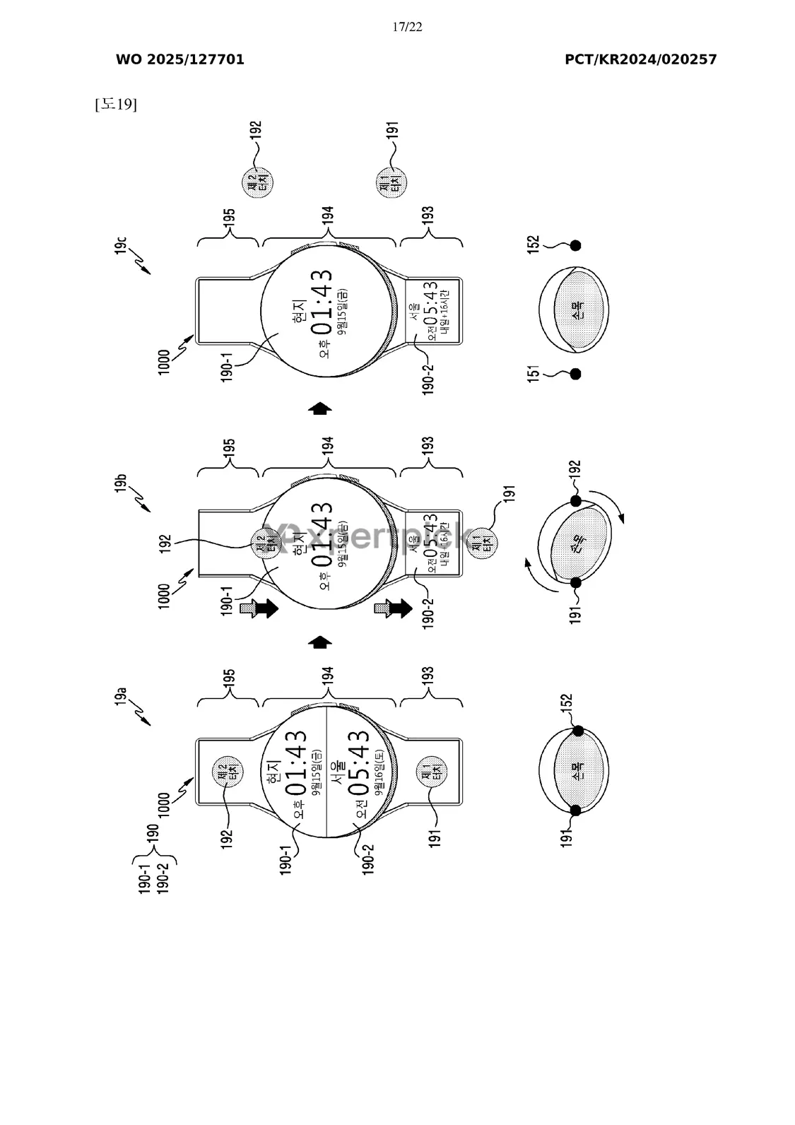
根据专利图纸,三星似乎正在探索一种设计,其中智能手表表带的部分区域具有显示屏或触敏功能。草图显示,图形用户界面(GUI)元素不仅出现在表盘上,还延伸至相邻的表带部分。这些功能可能用于扩展用户界面元素、提供额外控件或实现跨表盘和表带的多点触控手势。


图纸中另一个有趣的细节是手表界面可根据手腕方向自动调整。在部分图片中,显示元素会根据用户的手腕位置旋转或移动,这可能意味着界面会自动适应用户的手腕姿势,从而在不同位置更易阅读或交互内容。


此外,这些专利图表还暗示了手势识别功能的存在。箭头和注释指示了手、手腕运动以及手指手势,表明设备可能支持通过动作或触摸手势进行控制。专利中的一个流程图提到,系统会识别多点触控输入的方向和距离,以触发二级图形用户界面。

值得注意的是,这只是一个专利申请,三星尚未正式确认将这一概念推向市场的计划。不过,这一概念表明三星正在探索使智能手表更具交互性和对用户动作更敏感的新方法。